|
|
| Michl286 |

Forum-Newbie
|
 |
Beiträge: 1
|
 |
|
 |
Anmeldedatum: 10.12.14
|
 |
|
 |
Wohnort: ---
|
 |
|
 |
Version: ---
|
 |
|
|
 |
|
Verfasst am: 10.12.2014, 13:53
Titel: GUI für Systemparameter
|
 |
| |
 |
|
Hi Leute,
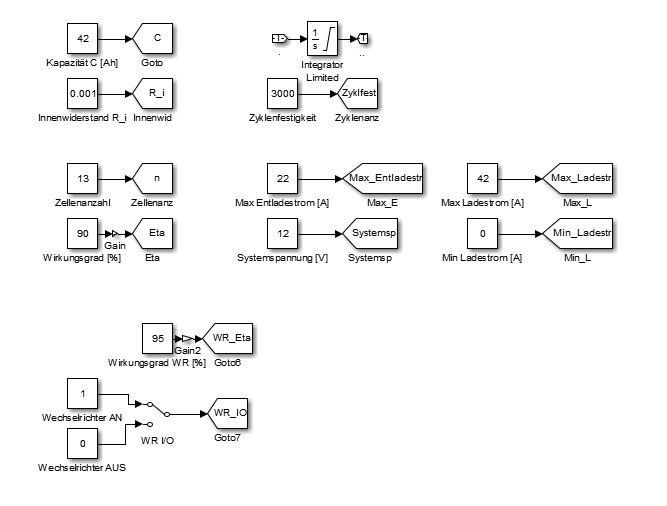
für eine Projektarbeit simuliere ich eine Li-Ionen Batterie in Matlab Simulink. Momentan verläuft die Dateneingabe für die Batterie über konstante Blöcke, die dann über globale Variablen weitergegeben werden (siehe Bild im Anhang).
Jetzt möchte ich die Dateneingabe aber über eine GUI laufen lassen, um die Parameter alle verstecken zu können.
Ich bin leider nicht so tief in Simulink drin, dass is jede Funktion und Code versteh. Hab auch schon viel recherchiert, aber von den gefundenen Lösungen und Videos ist es mir nicht gelungen irgendetwas sinnvolles abzuleiten.
Die GUI sollte einfach eine Art Eingabemaske für die entsprechenden Werte beinhalten und über einen Button die Werte an das Modell übergeben.
Wie das Bauen des Layouts funktioniert weiß ich mittlerweile, aber die Verknüpfung zum Modell ist mir einfach ein Rätsel.
Habt ihr eventuell Tipps, bzw. einen Lösungsweg wie die Verknüpfung und Übertragung funktioniert?
Vielen Dank
Michi
| Beschreibung: |
|
 Download |
| Dateiname: |
Dateneingabe.JPG |
| Dateigröße: |
41.42 KB |
| Heruntergeladen: |
583 mal |
|
|
|
|
|
|
| DSP |

Forum-Meister
|
 |
Beiträge: 2.117
|
 |
|
 |
Anmeldedatum: 28.02.11
|
 |
|
 |
Wohnort: ---
|
 |
|
 |
Version: R2014b
|
 |
|
|
 |
|
Verfasst am: 10.12.2014, 14:05
Titel:
|
 |
Stichwort heißt...
In der Doku zum Befehl findest du Beispiele wie du gezielt Blöcke ansprichst und welchen Parameter du ansprechen musst, entnimmst du dem jeweiligen Block.
|
|
|
|
|
|
|
Einstellungen und Berechtigungen
|
|
Du kannst Beiträge in dieses Forum schreiben. Du kannst auf Beiträge in diesem Forum antworten. Du kannst deine Beiträge in diesem Forum nicht bearbeiten. Du kannst deine Beiträge in diesem Forum nicht löschen. Du kannst an Umfragen in diesem Forum nicht mitmachen. Du kannst Dateien in diesem Forum posten Du kannst Dateien in diesem Forum herunterladen
|
|
Impressum
| Nutzungsbedingungen
| Datenschutz
| FAQ
| RSS
Hosted by:
Copyright © 2007 - 2026
goMatlab.de | Dies ist keine offizielle Website der Firma The Mathworks
MATLAB, Simulink, Stateflow, Handle Graphics, Real-Time Workshop, SimBiology, SimHydraulics, SimEvents, and xPC TargetBox are registered trademarks and The MathWorks, the L-shaped membrane logo, and Embedded MATLAB are trademarks of The MathWorks, Inc.
|
|